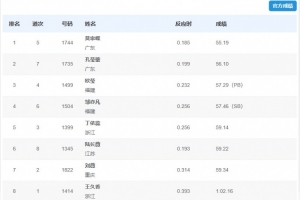
体育资讯11月17日讯 全运会田径女子400米栏决赛,莫家蝶以55秒19的成绩夺得金牌,孔莹蓥获得银牌,欧莹获得铜牌。
女子400米栏决赛成绩详情如下:
1 莫家蝶 55.19
2 孔莹蓥 56.10
3 欧莹 57.29(PB)
4 邹亦凡 57.46(SB)
5 丁依蕊 59.14
6 陆长薇 59.22
7 刘薇 59.34
8 王久香 1:02.16
上一篇: 陈妤颉小组第一晋级全运会女子100米决赛,决赛名单全部出炉
下一篇: 身体第一!18岁张展硕退出男子400米混合泳决赛,决赛4道空缺
比赛中
12-10 16:00
NCAA
拉玛尔大学
0
:
圣地亚哥州立大学
观看比赛:
高清线路
更多
印尼丁
三凯迪里
2
帕尔塞玛
泰联杯
苏拉特他尼城FC
1
土星联
莫佐克托
6
准邦阿科
12-10 16:30
NBL(A)
东南墨尔本凤凰
81
89
塔斯马尼亚跳蚁
国际友谊赛荷属圣马丁岛vs安圭拉直播
女排比赛直播
河内vs清化直播
nba联赛排名最新排名
雷霆VS太阳
nba诺科平vs哈马比
nba活塞vs 湖人
乌拉联直播